支付宝如何恢复删除账单?下面小编就为大家详细的介绍一下支付宝删除账单恢复方法,大家感兴趣的话就一起来了解下吧!
支付宝如何恢复删除账单?支付宝删除账单恢复方法
1、首先打开电脑浏览器,搜索进入支付宝官方网站,点击【登录】。
2、返然后回个人版支付宝后,点击【交易记录】。
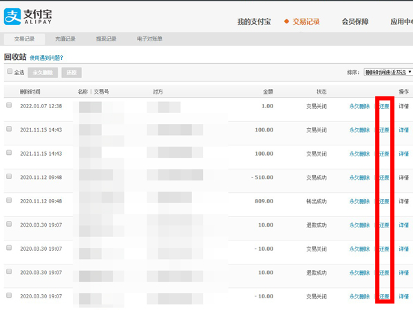
3、跟着点击【回收站】。
4、最后找到已删除的账单,点击【还原】即可。
以上就是支付宝删除账单恢复方法,希望对大家有所帮助。
支付宝如何恢复删除账单?下面小编就为大家详细的介绍一下支付宝删除账单恢复方法,大家感兴趣的话就一起来了解下吧!
支付宝如何恢复删除账单?支付宝删除账单恢复方法
1、首先打开电脑浏览器,搜索进入支付宝官方网站,点击【登录】。
2、返然后回个人版支付宝后,点击【交易记录】。
3、跟着点击【回收站】。
4、最后找到已删除的账单,点击【还原】即可。
以上就是支付宝删除账单恢复方法,希望对大家有所帮助。